


開關電源的起動電路
起動電路包含了電容電路和與電容電路銜接的調節器材。電容電路的電容值可調。調節器材用于在開關電源上電過程中依照設定時序調整電容電路的電容值以改動起動電路的電容值。
實施方式
起動電路中調節器材在開關電源上電過程中調整電容電路的電容值,如此,避免了開關電源啟動時對MOS管等器材形成損壞,一起開關電源在啟動后能堅持穩定的輸出。此外,還會解說一種開關電源。
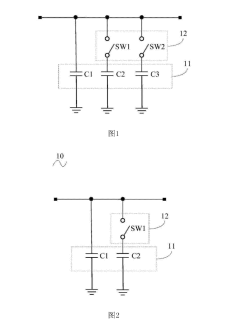
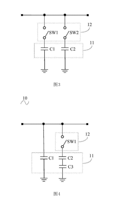
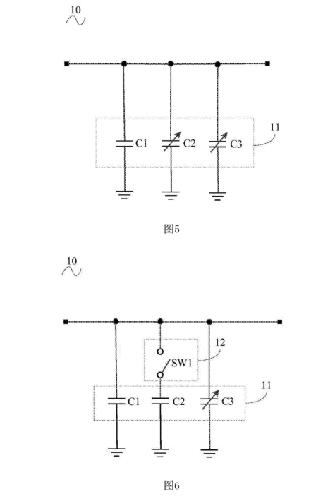
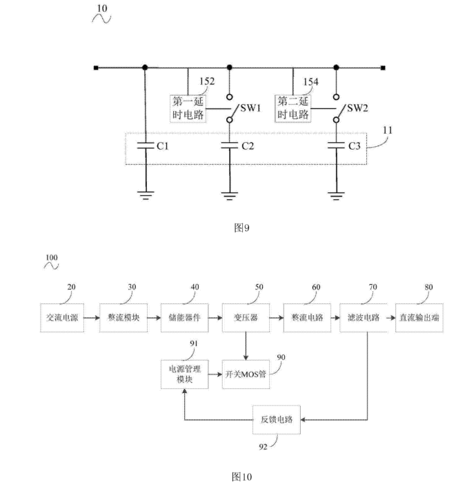
1.開關電源的起動電路包含:電容電路,電容電路的電容值可調;和與電容電路銜接的調節器材,調節器材用于在開關電源上電過程中依照設定時序調整電容電路的電容值以改動起動電路的電容值。電容電路包含多個電容,多個電容并聯,調節器材包含開關器材,開關器材包含與多個電容銜接的至少一個開關件,每個開關件與至少一個與電容串聯。調節器材用于調整可調電容的電容值。
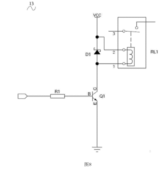
2.以上起動電路其特征在于,起動電路包含與開關器材銜接的操控電路和與操控電路銜接的微操控單元,微操控單元銜接電容電路并用于在開關電源上電過程中操控操控電路依照設定時序驅動開關件的通斷狀況調整電容電路的電容值。電路包含第一電阻、第三極管和第一二極管,第一三極管的基極銜接第一電阻的一端,第一三極管的集電極銜接第一二極管的正極和開關件,第一三極管的發射極接地,第一電阻的另一端銜接微操控單元,第一二極管的負極銜接預訂供電電壓和開關件。
3.起動電路的操控電路包含第一電阻、場效應管和第一二極管,場效應管的柵極銜接第一電阻的一端,場效應管的漏極銜接第一二極管的正極和開關件,場效應管的源極接地,第--電阻的另一端銜接微操控單元,第一二極管的負極銜接預訂供電電壓和開關件。開關件包含繼電器或NMOS管。起動電路包含與開關器材銜接的延時電路用于在開關電源上電過程中依照設定時序驅動所開關件的通斷狀況調整電容電路的電容值。
4.開關電源包含交流電源、整流模塊、儲能器材、變壓器、整流電路、濾波電路、直流輸出端、開關MOS管、電源處理模塊和反應電路,交流電源、整流模塊、儲能器材、變壓器、整流電路、濾波電路和直流輸出端依次銜接,反應電路銜接濾波電路和電源處理模塊,開關MOS管銜接變壓器和電源處理模塊,濾波電路包含起動電路。
開關電源的起動電路和開關電源布景技術.
在相關技術中,為了維持開關電源的輸出穩定,開關電源的輸出端常常銜接了較大的電容。例如,在音頻電路中,為了尋求杰出的音質,開關電源中常常接入較大的電容。但是電容變大會導致開關電源啟動時對MOS管的沖擊過大,造成MOS管的損壞。
本發明實施方式的開關電源的起動電路,包含:
電容電路,電容電路的電容值可調;和與電容電路銜接的調節器材,調節器材用于在開關電源上電過程中依照設定時序調整電容電路的電容值以改動起動電路的電容值。如此,避免了開關電源啟動時對MOS管等器材形成損壞,一起開關電源在啟動后能堅持穩定的輸出。
關鍵元件及符號闡明:
起動電路10、電容電路11、調節器材12、操控電路13、微操控單元14、第一延時電路152、第二延時電路154、交流電源20、整流模塊30、儲能器材40、變壓器50、整流電路60、濾波。





上一篇:開關電源典型電路與EMI介紹
下一篇:開關電源的恒流參數要求


